展陈工程设计与施工一体化一级资质
联系我们
成都华宇兄弟展览有限公司
成都华宇兄弟展示制作工厂
公司地址:四川省成都市青羊区西御街8号
工厂地址:成都市青羊区文家乡华俨村6组
联系电话:(+86) 028-81133183
电子邮箱:375240021@qq.com
2326409055@qq.com
在线QQ:375240021
2326409055
联系人: 杨先生15008238191
周先生13980912535
止回阀:水流无名英雄的必备指南
发布时间:
2025-11-11 16:17:39
作者:
管理员
虽常被忽视与误解,止回阀却在水务管理系统中扮演着关键角色,几乎成为所有工业应用的标准配置。
什么是止回阀?
止回阀是安装在管道或渠道末端的组件,作为单向/逆止阀在压力下开启。水流可经止回阀排出,但无法反向回流。

图片来源: Proco Products
止回阀具有多种尺寸、设计和材质,这些因素都会影响组件效能。
本文主要从水务应用角度探讨止回阀,但其同样适用于处理各类流体、物料及气体。
止回阀的核心功能在于防止逆流——避免受污染水体回流系统污染清洁水源。
止回阀工作原理
工业系统中常见止回阀用于排放废水等污染流体。据Proco Products介绍,止回阀设有单入口与出口,水流仅能单向通过,其启闭由压差控制。
压差指阀内水压大于阀门闭合压力。当入口侧压力更高时,阀门自动开启使水流通过——此压力值称为开启压力。
开启压力是决定阀门启动允许水流通过的最低操作压力设定值。
例如水务系统中会串联安装多个止回阀,防止污染水逆流危及清洁供水,同时降低可能引发水锤现象的逆流风险。
何为「水锤效应」?
水锤现象(亦称阀门撞击)发生在阀门未完全关闭时流向逆转的瞬间。阀门闭合后流向与流速的突变会引发水锤。
当运动中的水流被迫骤停时,前端水流停滞而后续水流持续前进,水体开始压缩。
水流动能积聚转化为高压能量,形成以近音速(约343米/秒)在管道中传播的液压冲击波。
水锤如何造成破坏?
当连接管道、阀门与泵组反复承受极端压力冲击时,可能对水务系统及其精密管网造成灾难性损坏与破裂。
一旦发生水锤,可能彻底摧毁价值数万美元的修复系统。
若水锤发生后系统仍持续运行,反复冲击将导致系统部件疲劳,严重损害系统完整性。
水用止回阀类型
从家庭到大型工业废水处理模型,止回阀在众多场景中承担多重功能。
因此市面上存在专为特定项目需求设计的各类止回阀。
类型 | 特性 | 优点 | 缺点 ---|---|---|--- 旋启式/翻板式 | 铰接金属阀瓣绕铰链/耳轴摆动,允许正向流动阻断逆流 | 最常见简易设计,民用工业通用;成本低结构简单;大流量容量,水头损失小;堵塞风险最低,摆动可自清杂质 | 会加剧水锤;限于水平或向上流向;不适用脉动流;可能锈蚀、卡滞或杂质卡死 球簧式 | 球体(常配弹簧)抵住阀座,入口压力超开启压力时顶开,压力下降或逆流时靠弹簧/重力闭合(亦用于空气止回阀) | 耐用紧凑;安装简便通用性强;减轻水锤;性能可靠 | 造价高;流道面积小导致流量容量低;维护需求高 鸭嘴式(弹性体) | 柔性橡胶「鸭嘴」在正压下张开,逆流时塌缩密封,常见于工业、海事及水下应用 | 无活动机械部件;高可靠性;使用寿命长(35-50年);防锈防卡抗贝藻附着;柔性设计缓解水锤;维护需求低 | 材料限制;不适用高温或高磨蚀性流体
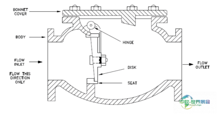
旋启/翻板式止回阀
旋启/翻板式或PVC止回阀结构最为简单,从小型住宅到大型工业装置均有应用。
金属阀盘绕铰链旋转防止逆流。因结构简单,大型止回阀多采用此设计。其使用寿命约5-7年,需频繁更换。

图片来源: DOE手册
尽管普及度高且成本低廉,钢制翻板旋启阀易锈蚀卡滞,长期使用可能因杂质卡死需人工清理。
阀门失效时将引发逆流与水锤。磨蚀性污泥与腐蚀性浆料会造成磨损损坏,导致阀门瘫痪。
球簧式止回阀
球簧式止回阀以耐用性与易安装著称。当入口压力大于开启压力时推动球体/阀瓣压缩弹簧实现开启。

图片来源: Specialty Manufacturing
当入口压力低于开启压力或发生逆流时,弹簧迫使阀门关闭——阻止水流逸出或倒灌。
虽以可靠性闻名,但此类阀门检修时需从系统中完全拆卸是其主要缺点。
该设计亦用于空气止回阀,核心功能是保持气流单向通过。空压机配备空气止回阀可维持特定部件加压状态,同时允许其他部件泄压。
鸭嘴式止回阀
鸭嘴式止回阀于1980年代开始取代旋启阀,数十年来在工业领域日益普及。
其工作原理如其名,类似鸭嘴张开允许水流或物质通过。

图片来源: Proco Products
鸭嘴阀依赖柔性橡胶隔膜构建阀门结构,无正压时始终保持闭合。
相较旋启阀,橡胶鸭嘴阀防锈性能显著提升,无卡死风险,被视作当今市场最可靠耐用的止回阀之一,Proco Products产品寿命可达35-50年。
鸭嘴阀无机械磨损,橡胶材质为弹性体创新与柔性设计提供更大空间。
对于需海底或水下安装的项目,鸭嘴阀具有抗贝藻附着优势——这对2017年海洋废水扩散工程等海水项目至关重要。
另一优势是应对水锤能力。Proco Products总经理Cal Hayes指出:「新型750系列鸭嘴阀采用橡胶材质,不会产生剧烈阀门撞击(水锤),橡胶固有弹性使其在外部压力下能柔性变形」。
这实质是泄压阀的变体,可保护管道系统免受压力冲击——艾默生过程管理与丹尼尔测量控制公司等厂商均提供此类设计。
其他设计
还存在双板式(蝶式止回阀)、球型及塞型止回阀等不同设计。
各自运作方式独特:蝶式止回阀采用两片折叠阀瓣,顺流时向中心线移动,逆流时闭合。

图片来源: Hard Hat Engineer
球型与塞型
本资讯是由“中欧世界展会网”工作人员翻译整理,我们一家汇集全球展会时间地点资讯的服务平台,为客户提供:展位预定,参观服务,设计搭建等服务,欢迎您的来电:400-837-8606 (24小时)接听!
服务承诺
品牌策划、创意服务已经不再是机会, 而是一个时代
免费设计
美院设计师一对一免费设计量身定做,打造属于您的专属方案
01
绿色环保
环保型材【零】污染,拆装方便循环使用,省钱省心
02
一站式服务
03
价格合理
价格合理装修材料公开透明,合同签订不加价绝无隐性消费,每一分钱都落在实处
04
交货准时
说好10:00交货,我们一定在9:59前,坐等您的验收
05
流程规范
展览工程专属ERP监控流程标准工艺,规范施工,所见即所得
专业提供参展服务 全程一站式无忧服务
服务流程
我们一直以真诚、认真负责的态度对待每一位合作者共同发展
业务跟进
策划沟通
设计初稿
图纸确定
签订合同
图纸报审
工厂制作
现场布展
客户验收
开展维护
撤展清场
展后跟踪
经典合作客户
成都农博会
苏宁
中国西部国际博览会
中国电子科技集团公司
中国中铁二院
中国邮政
华硕
华为
西门子
中航国际
重庆三峰环境集团
成都糖酒会
关于华宇
为社会提供更智慧更有价值的服务
成都华宇兄弟展览有限公司
————
华宇兄弟2007年创立以来(其前身为华宇兄弟展览展示制作工厂)、工厂始终秉承“为社会提供更智慧更有价值的服务”。凭借多年的行业经验,和一支经验丰富、高度敬业的设计及施工管理团队。服务于政府、金融、通信、电子、影视、汽车、房地产、服装、五金、印刷、食品、音响、机械、影视等不同行业的诸多企业,提供过专业服务。依靠多年来的不懈努力,我们以高质量的服务,精湛的制作工艺、赢得了广大客户的好评和信任。并与国内的数百家展览公司、设计公司建立起密切的合作伙伴关系。华宇兄弟拥有标准化制作工厂及仓库,下设展览制作车间、展柜制作车间、烤漆房和一支经验丰富、技艺精湛的工程队伍,崭新的设计理念、优质的工程质量和服务,跻身于中西部具有竞争力的展览工厂之一。
| 国际新闻
2026-04-02
2026-04-01
2026-04-01
2026-04-01
2026-04-01
| 国内新闻
2026-04-01
2026-04-01
2026-04-01
2026-04-01
2026-04-01
| 公司新闻
2021-02-19
2021-01-08
2021-01-04
2020-12-14
2020-12-14